Searching...

Moeller
NZM1 Circuit Breakers
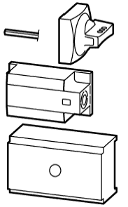
Right Side Connection

With Mounting Bracket
NZM1-XS- R (266644)
NZM1-XS-R


Lockable on the 0 position on the handle using up to 3 padlocks.
Can also be modified in I position.

FOR USE ON:
NZM1(-4)
PN1(-4), N(S)1(-4)

NZM1-XSR-R (266656)
NZM1-XSR-R

Without Mounting Bracket
(FOR DIRECT MOUNTING TO SIDE WALL)
NZM1-XSM-R (266665)
NZM1-XS-R, NZM1-XSRM-R

NZM1-XSRM-R (266673)
 NZM1-XSR-R





Product Standards UL489; CSA-C22.2 No. 5-09; IEC60947, CE marking
UL File No. E140305
UL CCN DIHS
CSA File No. 022086
CSA Class No. 1437-01
NA Certification UL listed, CSA certified
Degree of Protection IEC: IP66, UL/CSA Type 4X, 12

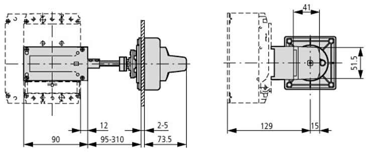
Side wall actuator NZM1
NZM1/2-XZB, NZM1-XS(R )(M)-L(R)

Other Mounting Options